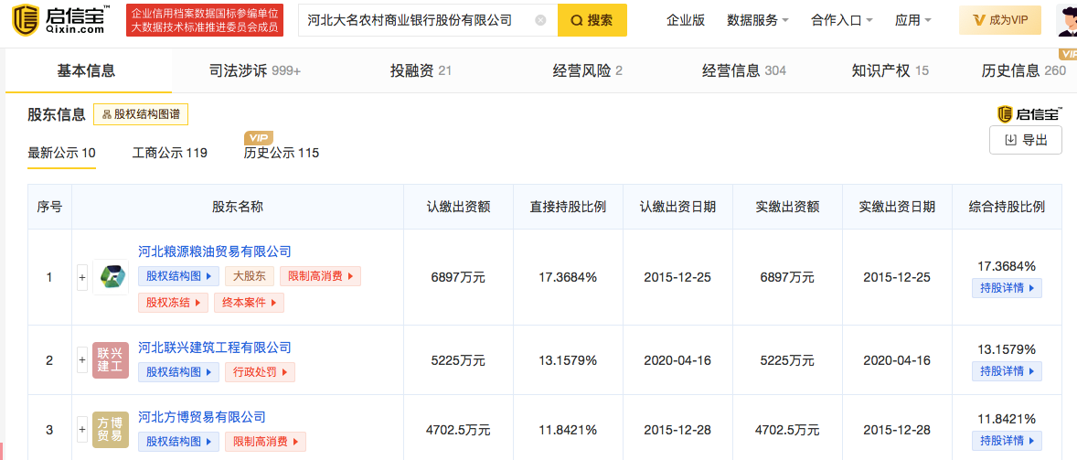
启信宝显示,河北大名农村商业银行股份有限公司存在严重的股东风险,如三大股东存在限制高消费、行政处罚等风险问题。
图片来源:启信宝
华林优配-配资股公司官网-股票配资门户app下载-配资指数网官网提示:文章来自网络,不代表本站观点。
本文评分*
评论内容*
你的昵称*
你的邮箱*